Память на опознание - что за зверь и куды его деть
привет!
вороне где-то бог послал кусочек брынза
ой это немного из не той оперы
хотя сходство есть
ну так вот
нашел я памяти палку интересную
SIMM72 6 чиповую(!!!) по 3 чипа на сторону
память Texas Instruments
TMS41816ODZ -60 42ногими SOJ'ами (сразу первым делом примерил их к S3 Virge - на 4 ноги больше чем надо)
согласно даташита это 1048576 BY 16-BIT DYNAMIC RANDOM-ACCESS MEMORY
притом это Enhanced Page-Mode Operation With xCAS-Before-RAS (xCBR) Refresh
это разновидность EDO или всетки скорее Fast Page?
куда всунуть - я кажется знаю. есть у меня Olivetti PG L8 en. ему думаю скормить.
просто если это всетки FP то есть другая мыслЯ - на моей Amiga600 попробовать памяти нарастить - она будет очень рада.
OldStuff - История оперативной памяти SIMM
Привет друже, есть у меня в коллекции вот такая кучка оперативки формата SIMM (предшественник DIMM)
И я хочу тебе поведать немного о них
Создание:
В 1983 компания Wang Laboratories подала патент на новый тип оперативной памяти для компьютеров. Который назвала SIMM или "Single In-line Memory Module" что по нашему значит односторонний модуль памяти. Разработала она его всё в том же 1983 году. Как говорит Википедия - "Первоначально модули были керамическими и имели штырьки." (фото не нашёл, у кого имеются буду весьма признателен)
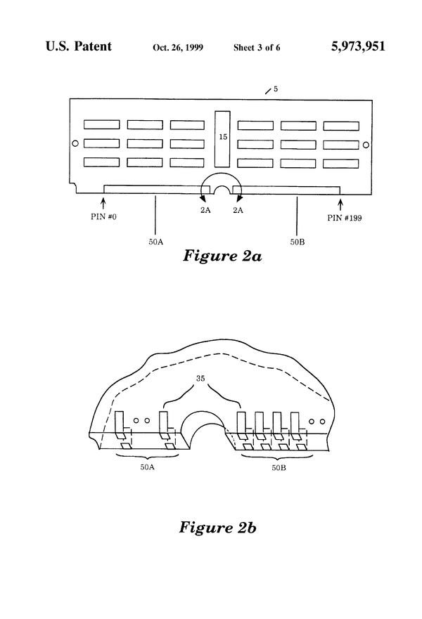
Ссылка на патент - http://www.google.com/patents/US5973951
Для ЛЛ ниже изображения из патента:
Первые версии SIMM модулей памяти не имели фиксации в слотах на материнских платах. Но очень скоро начали применять ZIF-слоты с защёлками.
Самые первые оперативки SIMM были всего на 30 контактов и имели объем памяти от 64 килобайт до аж целых 16 МЕГАБАЙТ!!! (Представляете? В то время это было много) Шина данных у них была восьмиразрядной, но иногда добавляли девятую линию контроля четности памяти.
Применялися они в компьютерах с Центральным Процессором, он же попросту ЦП, Intel 8088, 286, 386.
Там где стоял ЦП 8088, модули ставились по одному, если процессоры были 286, 386SX то модули ставились парами, ну а на компьютеры с процессорами 386DX — по четыре модуля ОДИНАКОВОЙ ёмкости.
Когда до рынка массовых (персоналок) компьютеров добрался и надёжно укрепился процессор 80486 фирмы INTEL, а также ему аналогичные для которых 30 пиновые SIMM нужно было ставить КАК МИНИМУМ ЧЕТЫРЕ!
Тогда на свет появилась версия на 72 контакта (пина), которая по сути была не чем иным как 4 объединённых 30 пиновых SIMM в одном флаконе так сказать, с общими линиями адреса и раздельными линиями данных. Таким образом, модуль становится 32-разрядным и достаточно было всего одного модуля.
Теперь на одной планке размещалось от 1 мегабайта аж до целых космических 64 МЕГАБАЙТ (Чувствуете? чувствуете какую мощь они привнесли?)
Изначально в эпоху процессора INTEL 486 они появились только на брэндовых PC таких как Compaq, HP, Acer и других. Но, с приходом в этот прекрасный мир процессора Pentium их начали масово ставить практически на все материнские платы.
С распространением в массовых компьютерах процессоров Pentium, по причине низкого быстродействия динамической памяти SIMM-модулей, их спецификация претерпела изменения, в результате чего более новые модули, обладая немного большим быстродействием (их называли EDO от англ. Extended Data Out) стали несовместимы со старыми (FPM от англ. Fast Page Mode).
Так как на материнских платах для процессора Pentium с 64-разрядной шиной данных 72-контактные модули уже потребовалось ставить парами, постепенно и их физически попарно «объединили» путём расположения микросхем на обеих сторонах печатной платы модуля памяти, результатом чего стало появлением первых модулей DIMM.
Материнские платы для процессоров Pentium, как правило, поддерживали оба типа памяти, в то время как большинство материнских плат для процессора 486 поддерживали только старый (FPM) тип модулей памяти. Отличить модули по внешнему виду было практически невозможно (внешнее отличие было только в маркировке микросхем), и на практике чаще использовался метод «научного тыка». Установка «неправильного» типа памяти не приводила к неисправностям — система просто не видела памяти.
Существовали также 64-контактные (применявшиеся например в Macintosh IIfx) и 68-контактные (VRAM в Macintosh LC) варианты.
А вот и фото моих экземпляров из личной коллекции
30 пиновые слоты и планки:
Ниже фото материнской платы компьютера Atari STE, как видите здесь применялись 30 пиновые планки оперативной памяти SIMM
Разрядность шины данных: 8 бит (9 бит у модулей с контролем четности)
Тип применяемых микросхем динамической памяти: FPM
Стандартные значения объёма памяти модулей: 64 Кб, 256 Кб, 1 Мб, 4 Мб, 16 Мб
Физические размеры модуля: 89 на 13 или 89 на 25 мм
Шаг расположения контактных площадок — 0,1"
Модули типа SIPP имеют аналогичное назначение контактов и отличаются только конструктивно (контактные штырьки вместо контактных площадок)
72 пиновые слоты и планки:
Ниже фото материнской платы компьютера IBM PS/2 с процессором 80486, как вы уже поняли, тут применялись новые 72 пиновые планки оперативной памяти SIMM
Разрядность шины данных: 32 бита (36 бит у модулей с контролем четности)
Тип применяемых микросхем динамической памяти: FPM, EDO
Стандартные значения объёма памяти модулей: 1 Мб, 2 Мб, 4 Мб, 8 Мб, 16 Мб, 32 Мб, 64 Мб
Физические размеры модуля: в большинстве случаев 108 на 25 мм, иногда 108 на 39 мм
Шаг расположения контактных площадок — 0,05"; между выводами 36 и 37 увеличенное расстояние и вырез (ключ)
Объём памяти модуля определяется по перемычкам, установленным на линиях конфигурации PD1 и PD2
==================
|--PD2--|--PD1--|--Объём--|
|-GND--|-GND--|--4~64М--|
|-GND--|--NC---|--2~32М--|
|--NC---|-GND--|--1~16М--|
|--NC---|-NC----|--8 Мб----|
==================
72-контактные модули FPM применялись не только в компьютерах, но и в лазерных принтерах для увеличения их памяти. В ноутбуках на процессорах 386sx и 386dx так же использовались 72-контактные модули.
После появления 72-контактных модулей FPM надо было найти применение 30-контактным модулям, и некоторые фирмы начали выпуск адаптеров 4x 30pin SIMM в 72pin SIMM.
На этом пока всё, это краткая версия, более детальная будет в формате видео, если я что то упустил, то пишите в комментариях,


























